Tài Liệu Về Bản Vẽ Băng Tải Góc Cong 90 độ
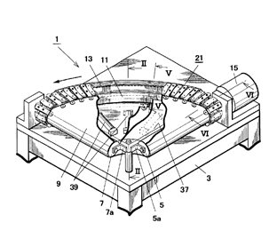
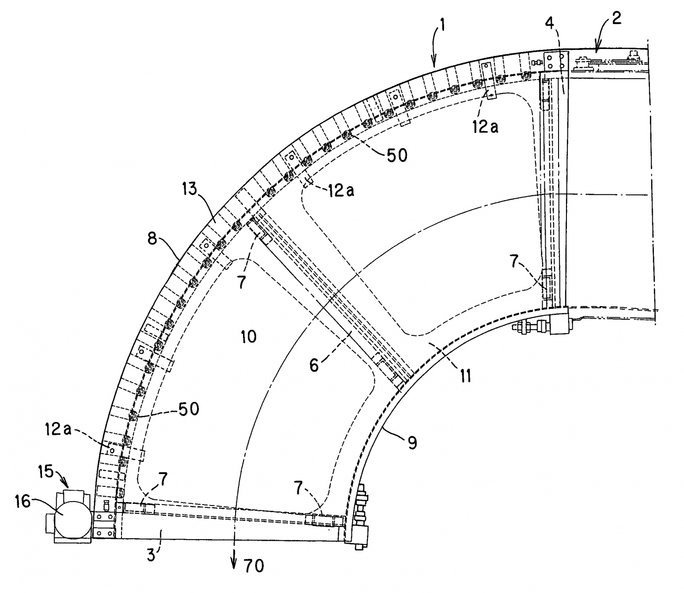
Tài Liệu Về Bản Vẽ Băng Tải Góc Cong 90 độ: Băng tải góc cong là loại băng tải vận chuyển chuyển hướng sản phẩm từ 30 – 90 độ – 180 độ. Băng tải góc cong thuận lợi trong không gian chật hẹp.
Công ty Việt Thống Hưng Thịnh là nơi sản xuất ra băng tải góc cong tốt nhất, là nơi được các doanh nghiệp tin tưởng khi lựa chọn rất nhiều về băng tải của công ty chúng tôi. Với những lợi ích mà chúng mang lại trên thị trường. Để sản xuất ra một băng tải góc cong đúng chuẩn, các đội ngũ kỹ sư đã thiết kế bản vẽ vô cùng tỉ mỉ và cẩn trọng.
Băng tải góc cong là loại băng tải vận chuyển chuyển hướng sản phẩm từ 30 – 90 độ – 180 độ. Băng tải góc cong thuận lợi trong không gian chật hẹp, đặc biệt khi gặp trụ hoăc tường thì băng tải góc cong còn giải quyết rất tốt vấn đề chuyển hướng.






Xem thêm: Tài Liệu Về Bản Vẽ Băng Tải Góc Cong 90 độ
Comments
Post a Comment